皇冠信用网登3出租_今麦郎手打挂面的“手打”系商标,多个官方旗舰店已停售,客服回应:进行品牌升级而下架
正版皇冠信用网出租(www.hg01.vip)-开会_员出_租平_台)皇冠信用网/—开会员账号—(招登1登2登3管理(代理出租)近日,今麦郎因“手打”商标问题引发公众热议皇冠信用网登3出租。4月1日,今麦郎集团董事长范现国通过视频正式回应此事,宣布将全面停用“手打”商标,并于4月2日起将停止生产任何带有“手打”商标的产品。2日,新黄河记者查询淘宝、京东等平台的今麦郎官方旗舰店发现,相关“手打挂面”商品已检索不到,商家也明确表示“手打挂面因公司主动停用‘手打’商标,进行品牌升级而下架”。
日前,有消费者指出在购买今麦郎“手打挂面”后,发现该产品实际上是流水线工业化生产,并非手工制作,相关话题在网上发布后迅速引起了轩然大波皇冠信用网登3出租。针对此次争议,4月1日,今麦郎集团董事长范现国发布视频作出回应,他表示,“手打”商标是在2006年注册,至今已使用20年,为了避免今后再给消费者带来产品表述上的误解与困扰,今麦郎正式决定,从4月2日凌晨起,立即停止使用“手打”商标。



展开全文
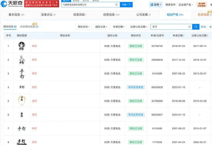
天眼查知识产权信息显示,2001年至2018年,今麦郎食品股份有限公司注册了多个“手打”字样的商标,均属于方便食品系列皇冠信用网登3出租。涉事“手打挂面”所用商标专用权期限为2020年1月7日至2030年1月6日。此外,商标信息显示今麦郎食品股份有限公司“手打”“手打面”“手打鲜粉”等商标曾被驳回,国际分类均为方便食品。

对于今麦郎的此次回应,网友态度莫衷一是皇冠信用网登3出租。一部分网友持认可、褒奖态度,认为今麦郎知错就改、回应迅速,并且针对问题迅速做出企业整改,值得肯定。但也有一部分网友认为今麦郎明知“手打”一词容易误导消费者,却仍然使用该商标长达20年,借助文字游戏模糊产品工艺,利用商标漏洞打擦边球,涉嫌欺骗消费者。

值得注意的是,今麦郎“手打挂面”事件并非个例皇冠信用网登3出租。此前,千禾0添加酱油的“千禾0”、农家土鸡蛋的“农家土”“壹号土猪”的“壹号土”以及“潘婷三分钟奇迹护发素”的“潘婷三分钟奇迹”等,均存在利用描述性词汇注册成商标的操作。这些商标套路往往相似,都是利用商标来模糊商品的真实属性,给消费者带来了消费误导。
此次今麦郎“手打”商标事件,无疑再次给行业敲响了诚信经营的警钟皇冠信用网登3出租。
(新黄河客户端记者韩明霞 实习生谭贻允)
猜你喜欢
- 2026-05-15世界盃買球 _男子买1万元榴莲,错付成11万,几个月后才发现!商家却说已退还,当事人妻子:销售知道多转钱了,但没有告知,已准备起诉
- 2026-05-15世界盃足球 _菲总统府发言人:德拉罗萨未离开大楼时,参议院警卫与国家调查局探员曾交火对峙
- 2026-05-14世界杯在哪里直播 _用户称关闭支付宝支付功能后被扣捐赠184万 多方回应
- 2026-05-13狼队vs曼城 _港媒关注特朗普访华:中国以前所未有的自信迎接此次会晤
- 2026-05-12皇冠信用网登陆地址 _湖北三姐弟大把大把给父母钱花,老两口花不完将15万元现金埋在屋后地下,最近挖出发现已发霉粘连,银行工作人员7个小时救回11万多元
- 2026-05-12皇冠信用网代理怎么申请_习言道|中美元首北京会晤,三个特殊时间点
- 2026-05-12世界盃買球網址 _重磅!中芯国际406亿重组获通过!天花板彻底打开了
- 2026-05-11世界盃代理 _日乒主帅岸川圣也:梁靖崑表现太出色,中国队展现世界第一水准
- 2026-05-10皇冠信用网会员开户申请_杭州闹市区,女子突然发现一群小鸳鸯在自家水缸喝水,一共11只!她马上做了个决定……
- 2026-05-10皇冠信用网APP下载_王曼昱与蒯曼输球 孙颖莎两度扳平国乒2-2日本
- 2026-05-10正版皇冠信用网会员_“几轮博弈后,特朗普发现:中国比他想象中更强大”
- 2026-05-10皇冠信用网会员注册网址_奎因39分张皓嘉三分绝杀 广东加时险胜1-1北京


网友评论